牛求艺 留学 留学资讯

全国更好的师范大学排名榜(首都师大)

发布时间: 2025年10月08日 01:32

【2025年出国留学、雅思、托福、小语种、留学考试】专业咨询 >>

您好!我是刘老师,请问您想了解出国留学、语言考试吗?

点击咨询

在我们国家所有的高校中,有一类大学很奇怪,有人爱有人恨,爱她的人恨自己上不了这类高校,恨她的人怨自己高中时候为什么不好好学习。

这类大学就是,师范院校,师范院校,师范院校,重要的事情说三遍。

对待师范院校的态度,恰好折射出国人职业观的丰富多彩。在我们国家,有的人从小就有一颗为人师表的心,听到《长大后我就成了你》《好大一棵树》就激动不已;但也有不少人,从骨子里就对教师这个行业不感冒,老师这一行从来不在他或她的职业规划项目列表中。

首都师大、上海师大、天津师大:同为知名师范大学,该怎么选?

不管喜欢不喜欢,我们大多数人都是师范院校毕业生培养的,其中一小部分人可能成为师范院校在校生、毕业生的一员。

提到师范大学,除了教育部直属的几所师范大学,几乎每个省都有一所自己的师范大学,源源不断为本省培养中小学、幼儿园教师。提到地方师范大学,人们多数就会马上想到位于三个直辖市的三所师范大学。

一所是让很多人与北京师范大学傻傻分不清的首都师范大学,第二所是上海师范大学,第三所是天津师范大学。今天,我们就来认识一下她们,看看作为高考考生和家长,该如何三选一。

历史不是她们的优势,所在城市和现状才是她们的自信所在

1954年,在神州大地,涌现出了一批师范院校,这其中就包括首都师范大学和上海师范大学的前身。

首都师大、上海师大、天津师大:同为知名师范大学,该怎么选?

首都师范大学创建于1954年,原名北京师范学院,办学历史可追溯至1905年成立的通州师范;1960年后,华北人民大学、北京工农师范学院、北京艺术师范学院、北京师范专科学校等部分院系先后并入。1992年,北京师范学院分院并入,同年更名为首都师范大学。此后,北京联合大学外国语师范学院、北京第三师范学校、通州师范学校、北京市幼儿师范学校先后并入。

首都师大、上海师大、天津师大:同为知名师范大学,该怎么选?

上海师范大学创建于1954年,时名上海师范专科学校,1956年扩建为本科院校上海第一师范学院和上海第二师范学院,1958年两校合并成立上海师范学院。1972年五校合并成立上海师范大学。1978年恢复上海师范学院。1981年成为全国首批硕士学位授予单位。1984年改名为上海师范大学。1986年获批为博士学位授予单位。1994年与上海技术师范学院合并成立新的上海师范大学。1997年至2003年,上海师范高等专科学校、南林师范学校黄陵卫生保健师范部、上海市行知艺术师范学校、上海师资培训中心、上海旅游高等专科学校等先后并入或划归学校管理。

首都师大、上海师大、天津师大:同为知名师范大学,该怎么选?

天津师范大学始建于1958年,原名天津师范学院。学校传承的师范教育历史可追溯到1906年成立的北洋师范学堂、1921年成立的天津工商大学和1930年成立的天津市立师范学校。1982年更名为天津师范大学。1999年4月,原天津师范大学、天津师范高等专科学校、天津教育学院合并组建新的天津师范大学。

说起历史,三个学校都有着自己的独特经历:首都师范大学,合并了多所北京高校及分校;上海师范大学,在1972年与华东师范大学、上海体育学院等院校合并,当时就被称为上海师范大学;天津师范大学,这个名称曾经被现在的河北大学在天津办学时使用过。

首都师大、上海师大、天津师大:同为知名师范大学,该怎么选?

不过,如今的她们并不太在乎自己的校史,因为她们所在的城市,已经让她们在各方面遥遥领先,比如人才引进相对要容易得多,再比如发展任何一个学科都不是大问题,因为当地都有需要,自己也有实力寻找合适的师资和切入点。

论现状,她们也都过得去。现状最好的,当然是首都师范大学,现在是国家“双一流”建设高校、北京市与教育部“省部共建”高校。上海师范大学自然也是自信满满,2019年成为上海市高水平地方高校(学科)建设试点单位。天津师范大学也不甘落后,是天津市属重点大学,目标是建设成为特色鲜明的世界知名高水平师范大学。

虽然都在直辖市,但综合实力还是有高下之分的

如今的三所师范大学,早已经成为地方师范大学的标杆。然而,她们并不是各方面实力最强的地方师范大学,相互之间也有一定的差距。

实力最强的,当然是首都师范大学。

首都师范大学,现有一级学科博士学位授权点18个,分别是哲学、马克思主义理论、教育学、心理学、中国语言文学、外国语言文学、考古学、中国史、世界史、数学、物理学、地理学、生物学、生态学、统计学、音乐与舞蹈学、美术学、化学;专业学位博士学位授权点1个:教育学。

就硕士点而言,现有一级学科硕士学位授权点25个,包括哲学、法学、政治学、马克思主义理论、教育学、心理学、中国语言文学、外国语言文学、考古学、中国史、世界史、数学、物理学、化学、地理学、生物学、科学技术史、生态学、统计学、计算机科学与技术、软件工程、公共管理、音乐与舞蹈学、美术学、设计学。此外,还有专业学位硕士学位授权点16个:应用统计、国际商务、法律、社会工作、教育、汉语国际教育、应用心理、翻译、文物与博物馆、电子信息、材料与化工、资源与环境、土木水利、公共管理、旅游管理、艺术。

首都师大、上海师大、天津师大:同为知名师范大学,该怎么选?

在第四轮学科评估中,首都师范大学有马克思主义理论、教育学、中国语言文学等5个一级学科被评为A-,很多211高校都没有这样的成绩。

上海师范大学,有着上海的经济实力做支撑,实力当然也不可能小觑

上海师范大学博士点少于首都师范大学,但也有一级学科博士学位授权点11个,包括中国史、世界史、数学、哲学、教育学、心理学、中国语言文学、马克思主义理论、环境科学与工程、生物学、天文学。

硕士点要多于首都师范大学,拥有一级学科硕士学位授权点33个,分别是应用经济学、法学、政治学、社会学、马克思主义理论、心理学、体育学、外国语言文学、新闻传播学、物理学、化学、天文学 、地理学、生物学、生态学、计算机科学与技术、化学工程与技术、土木工程、工商管理、公共管理、艺术学理论、美术学、音乐与舞蹈学、戏剧与影视学、中国史、世界史、数学、哲学、教育学、中国语言文学、环境科学与工程、信息与通信工程、设计学。此外,还有21个专业学位硕士点,包括金融、应用统计、法律、社会工作、教育、体育、汉语国际教育、应用心理、翻译、电子信息、材料与化工、公共管理、旅游管理、艺术、新闻与传播、农业、图书情报、会计、资源与环境、生物与医药、工商管理。

首都师大、上海师大、天津师大:同为知名师范大学,该怎么选?

在第四轮学科评估中,尽管上海师范大学没有学科获得A类评级,但是上榜学科数量多于首都师范大学,其中有13个学科在B-以上。

天津师范大学,虽然所在城市可能不如北京、上海,但是学科实力并不落后

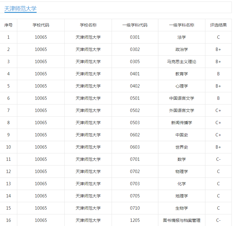
天津师范大学,目前也有11个一级学科博士学位授权点,分别是政治学、教育学、心理学、中国语言文学、中国史、世界史、马克思主义理论、新闻传播学、化学、地理学、生物学。此外,还有博士专业学位1个,就是教育专业。

就一级学科硕士学位授权点来说,天津师范大学超过了首都师范大学和上海师范大学,达到了34个,具体是理论经济学、应用经济学、法学、政治学、社会学、马克思主义理论、教育学、心理学、体育学、中国语言文学、外国语言文学、新闻传播学、考古学、中国史、世界史、数学、物理学、化学、天文学、地理学、生物学、科学技术史、生态学、材料科学与工程、信息与通信工程、计算机科学与技术、管理科学与工程、工商管理、公共管理、图书情报与档案管理、音乐与舞蹈学、戏剧与影视学、美术学、设计学。除此之外,拥有硕士专业学位授权类别(领域)(16个,也就是金融、法律、社会工作、教育、体育、汉语国际教育、应用心理、新闻与传播、文物与博物馆、电子信息、工商管理、公共管理、图书情报、艺术。

首都师大、上海师大、天津师大:同为知名师范大学,该怎么选?

在第四轮学科评估中,天津师范大学上榜学科数量少于首都师范大学和上海师范大学,但是B+学科有4个,多于上海师范大学的2个。

上面这样说,不代表首都师范大学全面领先。比如,论校区面积的话,首都师范大学只有1320亩,上海师范大学多出近1000亩、达到2295亩,天津师范大学更高、达到了3500亩。此外,北京、上海还分别有一所教育部直属师范大学,而天津则没有。

上本科到哪好?最优选项不一定是首都师范大学,其他两所师范大学同样值得考虑

对于高考考生来说,首先要考虑的是,在哪所师范大学上本科。很多人一看这个问题,一定以为小编在说废话,分数高了自然是首都师范大学,差一些只能选上海师范大学和天津师范大学。事实真的是这样吗?还真不一定,还要结合自己的情况来选择。

首先,不管三所师范大学多努力,她们终究不会成为综合性大学,现在的大政策就是要求她们坚守师范院校办学定位,把自己的师范专业做强,本科教育的重点必须放在师范专业上。从这一点上说,要上三所大学,师范专业是首选。

其次,要看自己想上的专业,在三所大学是不是属于国家和市级一流本科专业。

首都师范大学现有国家级一流专业建设点25个,思想政治教育、化学、音乐学、历史学、地理科学、计算机科学与技术、心理学、生物技术、统计学、英语、法学、学前教育、绘画、教育技术学、汉语国际教育、教育学、小学教育、汉语言文学、俄语、世界史、数学与应用数学、物理学、地理信息科学、生物科学、美术学。市级一流专业建设点8个,舞蹈学、考古学、哲学、应用化学、光电信息科学与工程、西班牙语、电子信息工程、公共事业管理。

首都师大、上海师大、天津师大:同为知名师范大学,该怎么选?

上海师范大学没有披露市级一流本科专业数量和具体专业,官网给出了18个国家级一流本科专业名单:汉语言文学、数学与应用数学、小学教育、历史学、音乐学、美术学、计算机科学与技术、金融学、应用心理学、旅游管理、广播电视编导、思想政治教育、物理学、教育学、英语、地理科学、生物科学、古典文献学。

天津师范大学拥有20个国家级一流本科专业,法学、政治学与行政学、行政管理、思想政治教育、教育技术学、小学教育、汉语言文学、新闻学、世界史、数学与应用数学、地理科学、应用心理学、国际经济与贸易、教育学、英语、朝鲜语、物理学、化学、生物科学、计算机科学与技术。拥有8个市级一流本科专业,汉语国际教育、地理信息科学、档案学、戏剧影视文学、美术学、体育教育、电子信息科学与技术、服装与服饰设计。

首都师大、上海师大、天津师大:同为知名师范大学,该怎么选?

尽管有重合,但是三所高校的一流本科专业还是不尽相同的,每个考生的志向也是不一样,所以要从中选择自己喜欢的专业和师范大学。

最后,各省招生量和录取情况不同,尽量选择招生量大、招生专业相对丰富的师范大学。下面,以河南省为例进行说明。

首都师范大学,近三年在河南招生量都在20个人以内,可能由于北京和“双一流”双重因素影响,分数线相对比较高。2021年,理科最低位次25941,文科3125;2020年,理科最低位次22276,文科3546;2019年,理科最低位次20281,文科3613。

上海师范大学,近三年在河南招生数量保持在200人以上,录取分数线略低于首都师范大学。2021年,理科最低位次43977,文科5874;2020年,理科最低位次35994,文科5502;2019年,理科最低位次34124,文科5568。

首都师大、上海师大、天津师大:同为知名师范大学,该怎么选?

天津师范大学,近三年在河南招生数量基本保持在200人以上,2021年更是超过了300人,录取分数线低于首都师范大学和上海师范大学。2021年,理科最低位次43977,文科8313;2020年,理科最低位次42474,文科6558;2019年,理科最低位次45612,文科7330。

相信看了上面这些数据,各位考生和家长,心里面大致都有个数了,会有个更加清晰的目标。

温馨提示:
本文【全国更好的师范大学排名榜(首都师大)】由作者教培参考提供。该文观点仅代表作者本人,培训啦系信息发布平台,仅提供信息存储空间服务,若存在侵权问题,请及时联系管理员或作者进行删除。
我们采用的作品包括内容和图片部分来源于网络用户投稿,我们不确定投稿用户享有完全著作权,根据《信息网络传播权保护条例》,如果侵犯了您的权利,请联系我站将及时删除。
内容侵权、违法和不良信息举报
Copyright @ 2025 牛求艺 All Rights Reserved 版权所有.